合肥市高速公路是否允许摩托车通行
经交警支队了解,根据《安徽省高速公路交通管理办法》相关规定,对摩托车上高速行驶目前没有专门的限行规定。但摩托车上高速行驶必须遵守道路交通安全法和高速公路交通管理办法,即:
1、证照齐全;
2、摩托车靠右侧道路行驶,佩戴头盔;
3、车速不得低于60码。
拓展:
合肥摩托车注销登记办理指南:
办理条件
1、机动车所有人提交的证明、凭证无效的;2、机动车来历证明被涂改或者机动车来历证明记载的机动车所有人与身份证明不符的;3、机动车所有人提交的证明、凭证与机动车不符的;4、机动车未经国务院机动车产品主管部门许可生产或者未经国家进口机动车主管部门许可进口的;5、机动车的有关技术数据玉国务院机动车产品主管部门公告的数据不符的;6、机动车的型号、发动机的号码、车辆识别代码或者有关技术数据不符合国家安全技术标志的;7、机动车达到国家规定的强制报废标准的;8、机动车被人民法院、人民检察院、行政执法部门依法查封、扣押的;9、机动车属于被盗抢的;10、其它不符合法律、行政法规规定的情形;11、机动车所有人提供本地有效期内的摩托车驾驶证。
办理地点
经开区宿松路与紫石路交叉口车辆管理所
蜀山区蜀山经济开发区湖光路与仙霞路交口蜀山分所
新站区文忠路与天水路交叉口瑶海分所
庐阳区庐阳产业园官塘路7号庐阳分所
包河区包河工业区纬一路16号包河分所
巢湖市半汤路巢湖学院对面巢湖市车管所
肥东县店埠镇南环路包公桥西200米肥东县车管所
肥西县肥西警安驾校院内肥西县车管所
长丰县水湖镇长淮路南段长丰县车管所
庐江县庐巢路43号庐江县车管所
办理时间
工作日 9:00-17:00
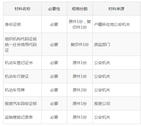
办理材料:






