注册
第一步:打开电子税务局,点击“登录”,选择社保费登录,选择“个人社保登录”,点击“参保编号注册开通”。
第二步:进入身份验证页面,按实际情况填写信息后,点击“确定”。
第三步:选择银联或支付宝进行实名验证
第四步:验证通过后,进入以下页面,按实际情况填写信息后,点击“确定”。
第五步:填写用户名及密码,点击“立即注册”。
登录
第一步:打开电子税务局,点击“登录”,选择社保费登录
第二步:输入证件号码或用户名,输入密码,滑动滑块,点击“登录”。
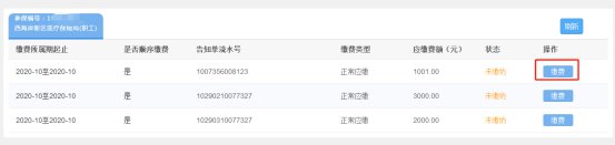
待办事项
该功能包含了未缴纳及未申报的征集信息。点击“缴费”,选择支付方式后,点击“缴费”。





