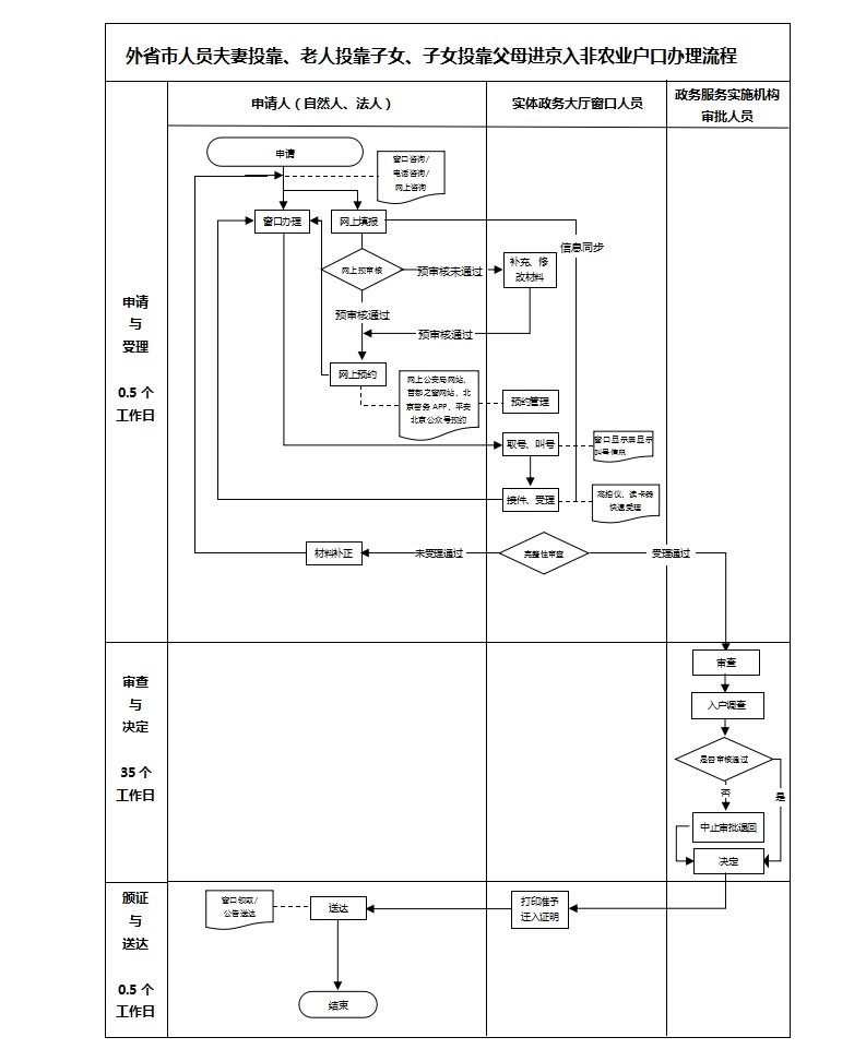
➤北京夫妻投靠落户流程
图源为:北京市人民政府
➤外省市农业户口或非农业户口的无业人员夫妻投靠进京入非农业户口须提供的证件证明
(1)入户申请书(申请人与被投靠人同时签名);
(2)申请人及随迁人的《居民身份证》、《户口簿》;
(3)被投靠人的《居民身份证》、《户口簿》、《结婚证》;
(4)住房证明(是指具有属于申请人、被投靠人本人或其直系亲属的合法住房);
(5)申请人为外省市居民户口的,其户口所在地街道社会劳动保障部门须出具无业证明或失业证;
(6)离婚人员须提供《离婚证》、离婚判决书或经公证的离婚协议书;
(7)随迁人如系独生子女的,须提供《独生子女证》;二胎以上(包括二胎)的子女须出具本市司法部门的亲子鉴定书、准生证,超计划生育的须出具原始罚款收据及被投靠人单位计划生育部门或街道计划生育部门出具的处理决定;
(8)随迁25周岁以下的独生子女,其户口所在地县级人民政府民政部门或乡(镇)人民政府,省、自治区、直辖市人民政府确定农村居民办理婚姻登记机关出具的未婚证明及本人出具经公证的未婚声明;社会劳动保障部门出具的无业证明或失业证;
(9)其他必要的证件证明。
》》





