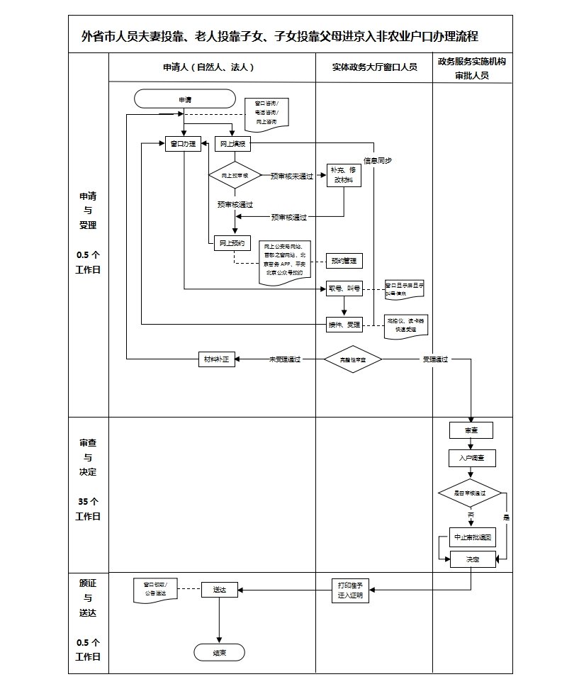
➤北京老人投靠子女落户流程
图源为:北京市人民政府
➤北京离退休老人投靠子女受理条件
1、夫妻均达到离、退休年龄并同时提出申请(干部男满60周岁,女满55周岁;工人男满55周岁,女满50周岁);
2、申请人已达到离休、退休年龄,并办理离、退休手续;
3、申请人外省、市(县)无子女;
4、夫妻二人均系北京调往青藏高原地区(青海省、西藏自治区)工作,现一方因病提前退休的;
5、申请人夫妻一方原系本市家庭常住户口,因工作调动或毕业分配等原因到外省市工作,已办理离、退休手续,且一名子女户口在京;
6、原在本市工作,退休后子女接班顶替,户口由京迁出,要求返京投靠子女的,由京迁出一方年龄须超过70周岁。
》》





