2022重庆公租房退租房源(持续更新)
更新至2022年3月9日
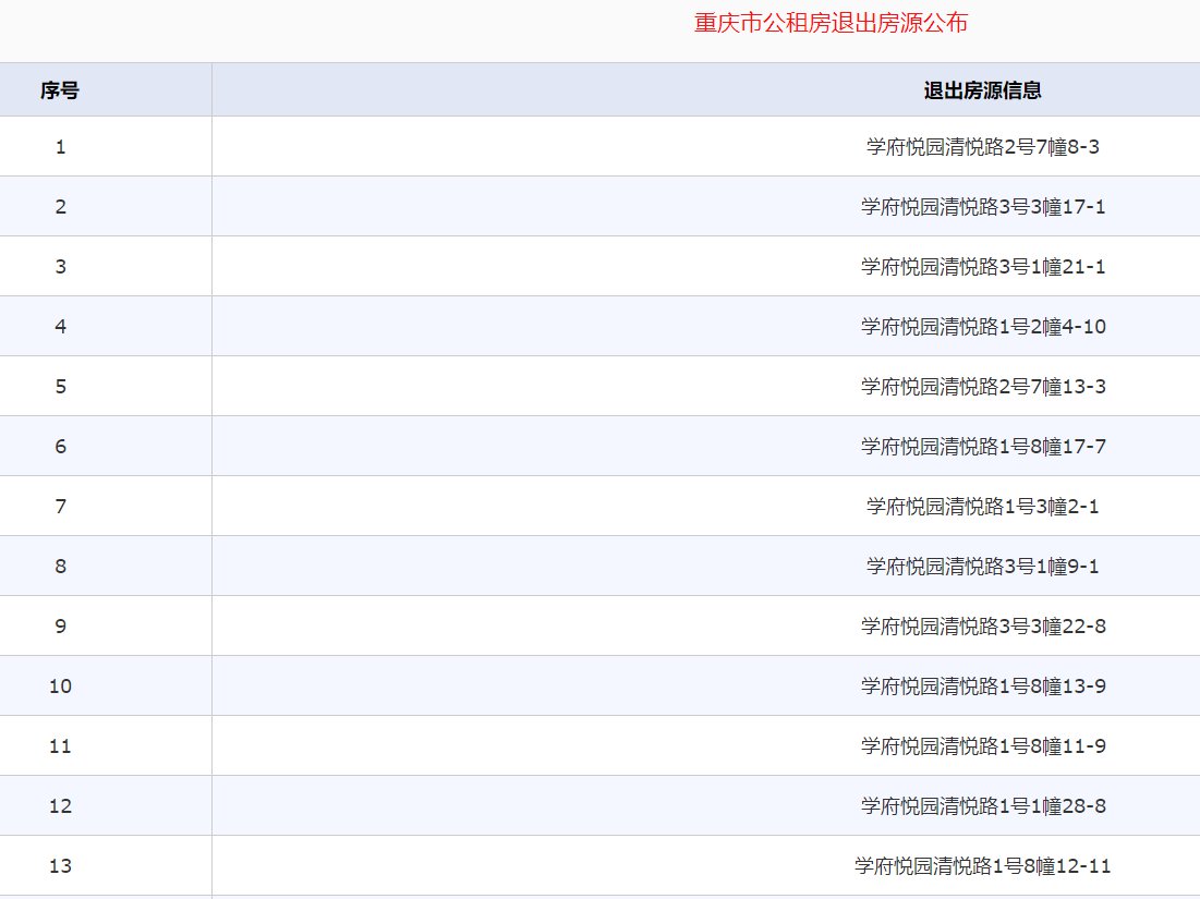
重庆市公租房退出房源公布
》》》更多名单点击查看《《《
【拓展阅读】公租房退房流程
基本流程:申请退房→验房(住房和设施有损坏、遗失的,承租人应恢复、修理和赔偿)→结清水电气讯费用→物管处确认→退房(详细流程各小区略有差异,具体以小区公示的退租流程为准)
具体流程如下:
1、主承租人携带
①工商银行或建设银行和复印件一张
②身份证和复印件1张
③房屋合同,房管中心领取3张退房申请表。
备注:主承租人无法办理退房情况下,主承租人可委托共同承租人或者直系亲属办理,递交主承租人真实且加盖指印的委托书、身份证和复印件。
2、将室内清洁做干净,设施设备有损坏的需要恢复。
3、到水、电、气、讯、有线营业厅完善报停销户手续。
4、到物管办公室办理验房手续。
5、交还钥匙,防盗门钥匙必须是原装6把、信箱钥匙2把,如果钥匙不齐,请更换锁芯。
6、将3张解约通知单和水电气讯有线单据交到物管前台盖章。
7、周末及节假日不办理验房退房手续。





