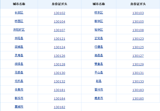
石家庄身份证开头前六位
石家庄身份证前面(第1-4位)开头号码是1301。石家庄市的行政代码为130100,身份证开头前6位在130100 - 130199间的,都是河北省石家庄市身份证号码,即所代表的城市为石家庄。
石家庄身份证如何办理?
详情点击
石家庄临时身份证如何办理?
详情点击
石家庄异地身份证如何办理?
详情单击、
地方特产2022-05-18 01:56:14佚名
石家庄身份证开头前六位
石家庄身份证前面(第1-4位)开头号码是1301。石家庄市的行政代码为130100,身份证开头前6位在130100 - 130199间的,都是河北省石家庄市身份证号码,即所代表的城市为石家庄。
石家庄身份证如何办理?
详情点击
石家庄临时身份证如何办理?
详情点击
石家庄异地身份证如何办理?
详情单击、