金华失业补助金怎么申领?
对领取失业保险金期满仍未就业的失业人员、不符合领取失业保险金条件的参保失业人员,发放失业补助金;
对参保不满1年的失业农民工,发放临时生活补助。
保障范围为2022年1月1日至12月31日期间新发生的参保失业人员。
一、国务院客户端申请
1、进入【国务院客户端小程序】→【电子社保卡】→【查看电子社保卡信息】。

2、点击失业保险待遇申领,查询所申领参保地是否开通失业保险金或失业补助金网上申领服务。目前全国所有省(区、市)失业保险金和失业补助金均已开通统一申领服务。
凡已开通服务的地区,可以点击失业补助金“去申领”按钮,核实或录入参保地、银行账号等信息,就能完成申请。


4、点击失业保险金或失业补助金“查看详情”按钮,可以查询申请的审核结果。经核查符合申领条件的,就可以通过登记的银行账户领到失业补助或失业保险啦。

二、国家社会保险公共服务平台办理:点此进入
1)进入国家社会保险公共服务平台,选择“失业保险待遇申领”

网上申领流程:
1、您若属于参保缴费满1年,并且非因本人意愿中断就业的失业人员,可以点击“失业保险金网上申领”。
2、您若属于下列三种情形之一的失业人员,可以点击“失业补助金网上申领”:
1)参保缴费不满1年的;
2)参保缴费满1年但本人主动离职的;
3)领取失业保险金期满仍未就业的。

具体流程:
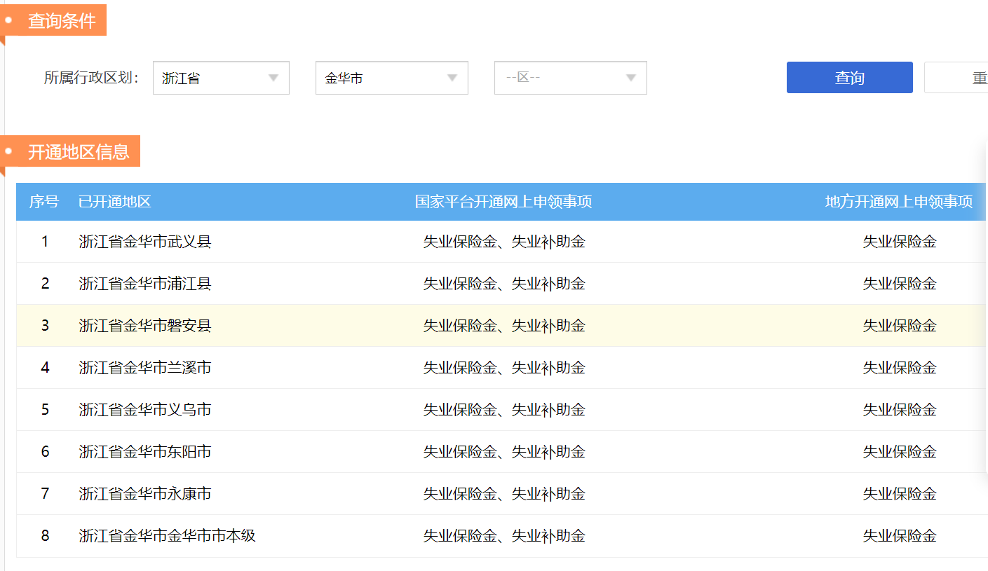
失业保险待遇申领人通过国家社会保险公共服务平台,选择“申领开通地区查询”服务,查看参保地是否已开通网上申领统一入口服务。已经开通服务的地区,申领人选择“失业保险金网上申领”或“失业补助金网上申领”服务,经实人认证成功后,填写申领信息,并提交申请。参保地经办机构负责受理申请,进行后台审核。经核查符合申领条件的,发放相关待遇。
注:金华市已全面开通

国家社会保险公共服务平台同步开通地方失业保险金网上申领链接查询服务,参保失业人员可通过国家平台查询访问各地的网上服务大厅,申领失业保险金或失业补助金。





