茂名港澳通行证探亲签注办理指南
办理条件
探望在香港或者澳门定居、长期居住、就学或者就业的亲属;申请人的配偶、未满18周岁子女可随同申请。“亲属”是指配偶,父母或者配偶的父母,子女或者子女的配偶,兄弟姐妹,(外)祖父母、(外)孙子女。
办理流程
▶网上办理流程
步骤1:进入港澳通行证网上申办系统 》点击进入
步骤2:点击【办事服务】——【办理往来通行证探亲签注】
步骤3:填写相关信息,填写完后保存并下一步
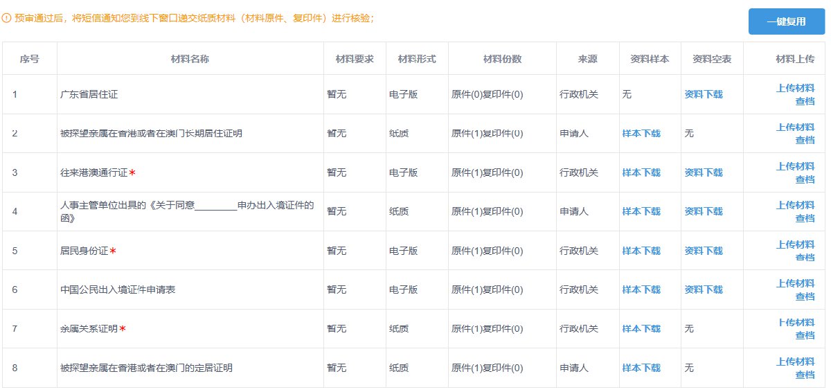
步骤4:上传以下电子材料,如有网上办理记录可点击【一键复用】
步骤5:选择领取方式,点击【提交】即可
窗口领取地址
茂名市公安局出入境管理科
办公地点:茂名市新湖路488号茂名市公安局出入境管理办证大厅4-8号窗口
办公电话:0668-2912290
办公时间:
星期一至星期四,上午:8:30—12:00 下午14:30—17:30;
星期五:上午:8:30—12:00 下午14:30—17:00;星期六:上午:8:30—12:00(节假日除外)
位置指引:
1、茂名市茂南区人民中路站,乘茂名公交汽车18路在人民中路站下,步行332米。
2、茂名市茂南区市中医院站,乘茂名公交汽车16路在市中医院站下,步行658米。
3、茂名市茂南区市中医院站,乘茂名公交汽车13路在市中医院站下,步行656米。
4、茂名市茂南区官山二路西站,乘茂名公交汽车5路在官山二路西站下,步行680米。
5、茂名市茂南区市中医院站,乘茂名公交汽车9路在市中医院站下,步行647米。
》》
▶线下办理流程
首先选择要线下办理窗口的地点
》》
一、申请人准备好相关材料,填表取号,等待叫号。如需采集指纹的先到采集指纹窗口采集指纹。
申请材料(申请人准备好原件以及复印件)
1、广东省居住证
2、被探望亲属在香港或者在澳门长期居住证明
3、中国公民出入境证件申请表 点击下载
4、人事主管单位出具的《关于同意________申办出入境证件的函》点击下载
5、往来港澳通行证
6、亲属关系证明
7、被探望亲属在香港或者在澳门的定居证明
8、居民身份证
二、到叫号受理窗口向受理民警提交申请材料
三、如材料不全或不符合法定形式将需要补齐全部材料后再来办理;如不符合受理条件则不予办理。
四、审核通过后需要等待7个工作日制作通行证。
往来港澳通行证及签注费
往来港澳通行证每证60元;
1、一次有效签注每件15元;
2、二次有效签注每件30元;
3、短期(不超过一年)多次有效签注每件80元,
4、一年以上(不含一年)两年以下(含两年)多次有效签注每件120元,
5、两年以上三年以下(不含三年)多次有效签注每件160元,
6、长期(三年以上,含三年)多次有效签注每件240元。





