办理流程
▶网上办理流程
步骤1:进入港澳通行证网上申办系统 》点击进入
步骤2:点击【办事服务】——【办理往来通行证探亲签注】
步骤3:填写相关信息,填写完后保存并下一步
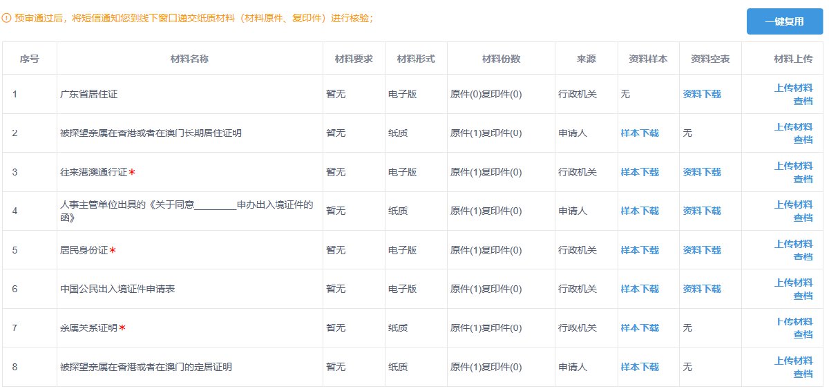
步骤4:上传以下电子材料,如有网上办理记录可点击【一键复用】
步骤5:选择领取方式,点击【提交】即可
窗口领取地址
茂名市公安局出入境管理科
办公地点:茂名市新湖路488号茂名市公安局出入境管理办证大厅4-8号窗口
办公电话:0668-2912290
办公时间:
星期一至星期四,上午:8:30—12:00 下午14:30—17:30;
星期五:上午:8:30—12:00 下午14:30—17:00;星期六:上午:8:30—12:00(节假日除外)
位置指引:
1、茂名市茂南区人民中路站,乘茂名公交汽车18路在人民中路站下,步行332米。
2、茂名市茂南区市中医院站,乘茂名公交汽车16路在市中医院站下,步行658米。
3、茂名市茂南区市中医院站,乘茂名公交汽车13路在市中医院站下,步行656米。
4、茂名市茂南区官山二路西站,乘茂名公交汽车5路在官山二路西站下,步行680米。
5、茂名市茂南区市中医院站,乘茂名公交汽车9路在市中医院站下,步行647米。
》》





