住院零星报销网上办理
通过广东政务服务网办理
1.登录“广东政务服务网”。http://www.gdzwfw.gov.cn/
2.点击“切换区域和部门”,选择“广州市-市医保局”
3.在搜索栏搜索“门诊费用报销”
4.办事站点选择“广州市”(请勿选择到区),并根据不同的情形选择具体业务情形,点击“在线办理”。
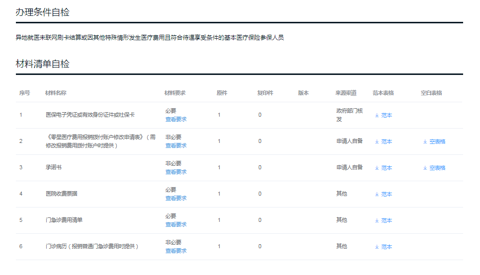
5.办理情形选择具体需要办理的业务情形,下载相关材料范本或空表。
6.非参保人本人申请的,在相应办理情形信息录入界面中的申请主体信息应填写申请办理此项业务的参保人信息。
7.在上传资料界面,将所需要的资料照片或扫描件按要求进行上传。
8.在办理方式选择界面,根据申请人参保所在区选择“大厅办理”及“大厅取件”的服务网点(后续在选择的网点递交资料),点击“确认提交”完成业务办理。
9.根据预受理结果完善申请资料或递交(邮寄)资料 。
门诊零星报销网上办理
通过广东政务服务网办理
1.登录“广东政务服务网”。http://www.gdzwfw.gov.cn/
2.“切换区域与部门”选择“广州市—市医保局”。(请勿选择到区)
3.在搜索栏搜索“门诊费用报销”。
4.选择“门诊费用报销”
5.选择“办事情景”
6. 办理情形选择具体需要办理的业务情形,下载相关材料范本或空表。
7.非参保人本人申请的,在相应办理情形信息录入界面中的申请主体信息应填写申请办理此项业务的参保人信息。
8.在上传资料界面,将所需要的资料照片或扫描件按要求进行上传。
9.在办理方式选择界面,根据申请人参保所在区选择“大厅办理”及“大厅取件”的服务网点(后续在选择的网点递交资料)。
10. 点击“确认提交”完成业务办理。
11.根据预受理结果完善申请资料或递交(邮寄)资料 。





