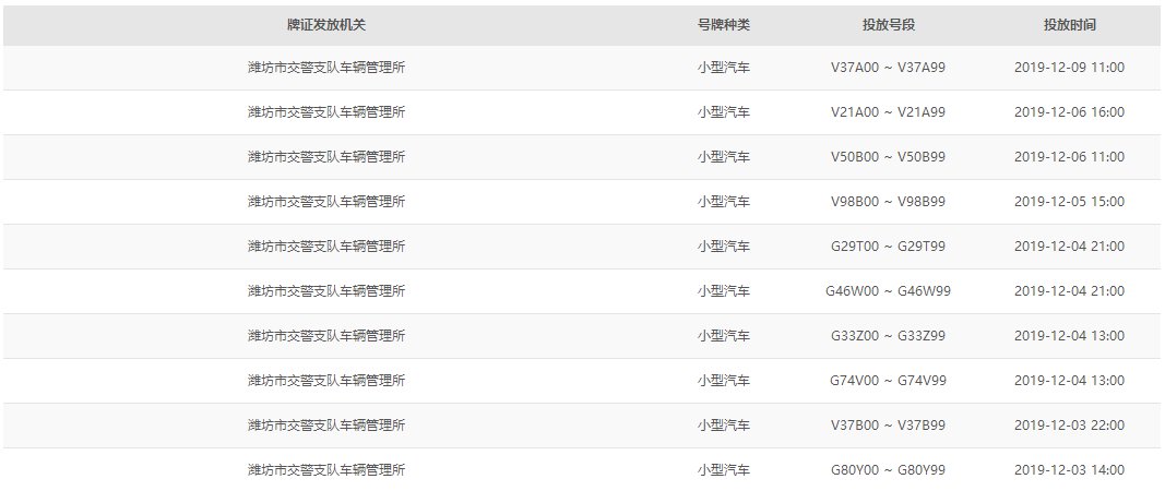
潍坊市最新一批可供车主选择的车牌号段已经在山东省交通安全综合服务管理平台上公布,这一批投放的号牌种类为小型汽车,选号规则及号码汇总如下:
每种号牌种类首次投放的号段,自投放时间起,提供自编选号和随机选号方式,之后再新投放的号段,自投放时间起,7日内只提供随机选号方式,超过7日的由系统随机投放到自编选号池,提供自编选号和随机选号方式。






地方特产2022-10-07 13:57:50未知
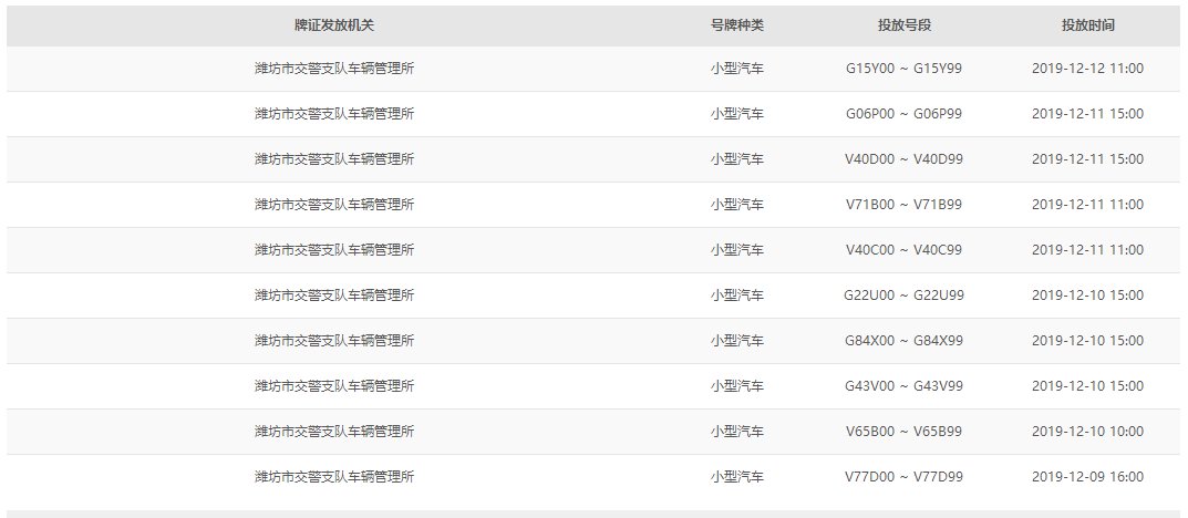
每种号牌种类首次投放的号段,自投放时间起,提供自编选号和随机选号方式,之后再新投放的号段,自投放时间起,7日内只提供随机选号方式,超过7日的由系统随机投放到自编选号池,提供自编选号和随机选号方式。





