华容县哪些派出所能办理指纹补采 华容县哪些派出所能办理指纹补采证明

地方特产2022-10-02 10:33:53佚名

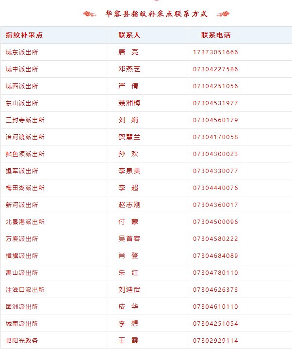
  华容县指纹补采派出所

  

本文标签: ,华容县  ,指纹  ,派出所  ,HTTP  ,style  

相关推荐

猜你喜欢

大家正在看