农业银行手机银行APP缴费操作指南
第一步:
下载农业银行手机APP;
第二步:
登录农业银行手机银行,依次选择“生活”→“生活缴费”→“更多”→“医保”进入医保缴费项目;
第三步:
按您实际缴费项目选择相应缴费项,选择“国家税务总局襄阳市襄城区税务局(襄城区城乡居民医疗保险)”→“身份证号”输入(参保人员身份证号码),点击“下一步”,系统反馈您的缴费信息,请核对后点“缴费”;
第四步:
通过“农银快e支付”进行支付,缴费成功;
温馨提示:农行银行手机APP中“生活缴费”-“缴费记录”可查询城乡居民医保缴费详情及电子回单。
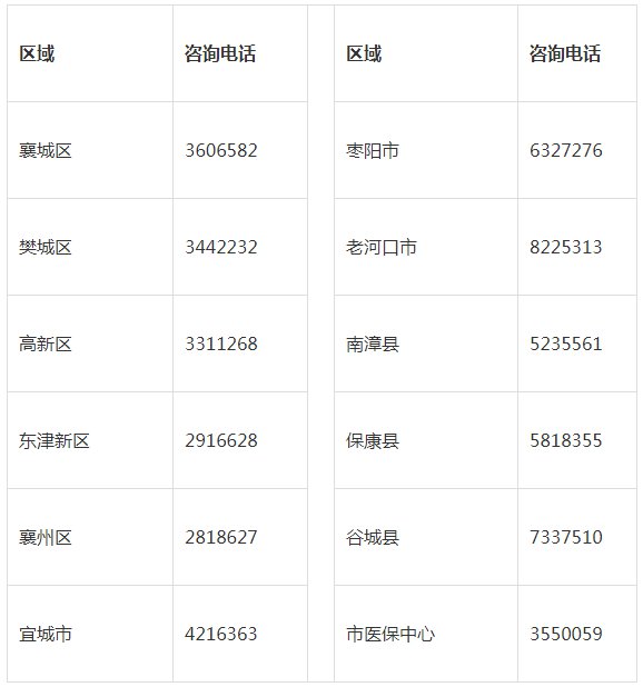
如果在参保过程中,还有其他问题,可以拨打以下电话进行查询:





