北京子女投靠父母审批需要几天

地方特产2022-04-02 18:06:01佚名

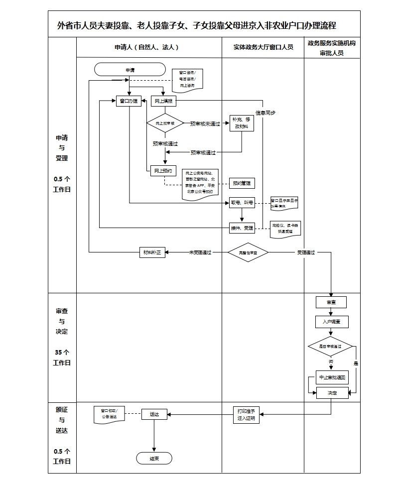
  北京子女投靠父母审批时间

  图源为:北京市人民政府

  ➤子女投靠父母受理条件

  1、申请人为未满18周岁的未成年人,且符合本市计划生育政策;

  2、申请人已经在外地随父或母入户;

  3、父、母一方为本市非农业户口;

  4、父、母一方再婚后户口进京、更改子女抚养关系后要求投靠入户的,改判子女抚养关系需满2年以上(更改抚养关系时间以公证书或法院判决书时间为准)。

  》》

本文标签: ,子女  ,关系  ,时间  ,父母  ,公证书  

相关推荐

猜你喜欢

大家正在看