2020年宁波鄞州区两直补助申报指南(时间+申报方式)
补助对象
符合市场监管总局《小微企业判定标准》(GS46—2018)的小微企业,或依照《个体工商户条例》在我区依法登记,从事工商业经营的家庭或个人。
补助条件2019年底前在我区注册登记,符合下列条件之一的,可列为补助对象:
1、今年1-4月出口额同比减少10%(含)以上的外贸小微企业和个体工商户。
2、受疫情影响严重的交通运输、农林牧渔、餐饮、住宿、旅行社及相关服务、游览景区管理、以及根据浙江省新型冠状病毒肺炎疫情防控工作领导小组办公室《关于加强疫情防控期间公共场所规范管理的指导意见》(省疫情防控办〔2020〕54号)明确列入复工复产负面清单的小微企业和个体工商户。
3、被认定为科技型小微企业、“小升规”培育企业、隐形冠军和“品字标”企业,以及传承老字号、非物质文化遗产等传统文化的小微企业和个体工商户。
4、今年1-4月有创业担保贷款利息的小微企业和个体工商户(已经享受过全额贴息等政策的不再补助)。
5、截止今年4月底,企业参保缴费人数多于去年年底参保缴费人数的小微企业。符合上述多条标准的,不重复补助。
不予补助情形
1、属于以下任一情形的,一律不予补助:
(1)吊销未注销的小微企业和个体工商户;
(2)列入经营异常名录的小微企业和标记为异常状态的个体工商户;
(3)未在今年6月30日前完成2019年度企业年度报告,或已完成2019年度企业年度报告但为“全零申报”(资产总额、负债总额、所有者权益合计、营业总收入、利润总额、净利润、纳税总额等经营性指标均填写为0)的小微企业;
(4)列入失信联合惩戒对象名单、失信被执行人名单的小微企业,以及其法定代表人、负责人在失信联合惩戒对象名单、失信被执行人名单的小微企业;经营者列入失信联合惩戒对象名单、失信被执行人名单的个体工商户;
(5)列入市场监管部门严重违法失信企业名单的小微企业;列入人社局的拖欠工资黑名单、应急管理局的安全生产不良记录黑名单、生态环境局的环境违法失信黑名单之内的小微企业和个体工商户;
(6)列为税务非正常户、列入重大税收违法黑名单和纳税信用等级 D 级的小微企业和个体工商户,以及 2019 年 1 月 1 日至2020 年 6 月 30 日受到税务行政处罚的小微企业和个体工商户;
(7)评为“亩产效益”综合评价D类的工业小微企业。
2、分支机构不纳入补助范围。
3、国有企业不纳入补助范围。
4、股份有限公司,规模以上工业企业,规模以上、限额以上服务业企业和个体工商户,不纳入补助范围。
资金使用
补助资金必须严格执行财政部关于中央财政实行特殊转移支付机制和抗疫特别国债资金管理的相关规定,不得用于生产经营无关的支出,主要用于以下几方面:
(一)支付生产经营房屋租赁费;
(二)支付创业担保贷款利息;
(三)缴纳员工的社会保险费;
(四)支付生产经营性水电气等费用;
(五)用于落实援企稳岗政策支出。
申报时间
即日起至7月24日24时
申报流程
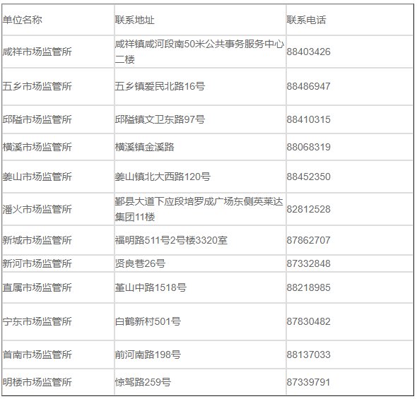
符合条件的小微企业和个体工商户通过线下申报的方式,到属地镇街服务中心或辖区市场监管所(联系方式详见附件),进行自主申报,随带相关资料(如营业执照、身份证原件、公章等)。
鄞州区自主申报联系方式
1、鄞州区各市场监管所联系方式
2、各镇街联系方式





