2020宁波鄞州两直补助申请方式+申请时间+受理点一览
申报时间
即日起至7月24日24时
申报流程
符合条件的小微企业和个体工商户通过线下申报的方式,到属地镇街服务中心或辖区市场监管所(联系方式详见附件),进行自主申报,随带相关资料(如营业执照、身份证原件、公章等)。
鄞州区自主申报联系方式
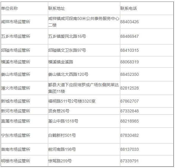
1、鄞州区各市场监管所联系方式
2、各镇街联系方式
地方特产2022-09-24 08:28:48佚名
2020宁波鄞州两直补助申请方式+申请时间+受理点一览
申报时间
即日起至7月24日24时
申报流程
符合条件的小微企业和个体工商户通过线下申报的方式,到属地镇街服务中心或辖区市场监管所(联系方式详见附件),进行自主申报,随带相关资料(如营业执照、身份证原件、公章等)。
鄞州区自主申报联系方式
1、鄞州区各市场监管所联系方式
2、各镇街联系方式