➤网上申办:申请人登录广东省政务服务网(http://www.gdzwfw.gov.cn/)
1、输入“入户”,点击“搜索”;
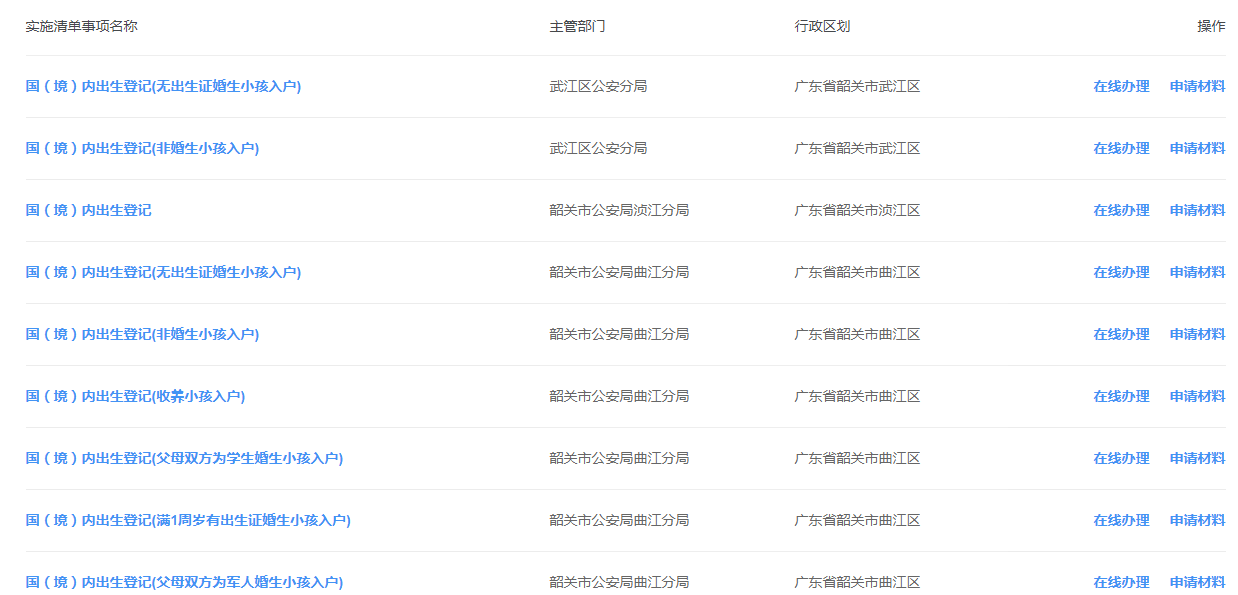
2、切换到对应城市“韶关”,在“户口登记”栏,选择“出生登记”;
3、选择好区域点击“在线办理”;
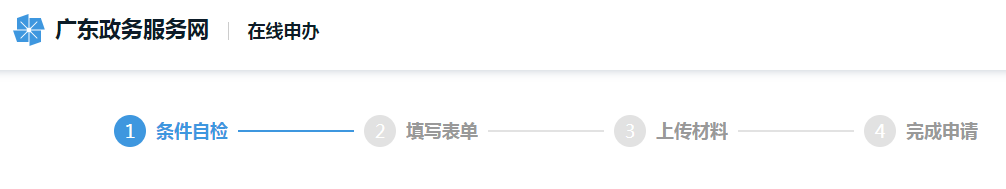
4、登录“广东省统一身份认证平台”;
5、登录成功后完成“条件自检”、“填写表单”、“上传材料”即可完成申请。
➤需要材料:
(1)申请书;
(2)《出生医学证明》原件及复印件;
(3)父母的《户口簿》、《居民身份证》、《结婚证》的原件及复印件;
(4)国外出生的另需提交婴儿本人回国使用的护照或《中华人民共和国旅行证》、国外出生子女的出生证明及翻译件、市级出入境管理部门出具的《办理户口通知》。





