▶个人参保证明查询和打印入口:
➊广东政务服务网(https://www.gdzwfw.gov.cn/)
▶个人参保证明查询和打印方式:
【广东政务服务网】
1、进入广东政务服务网,选择城市为“梅州”

2、在此页面往下滑,找到【个人服务】栏目——【社保】——【个人参保证明】

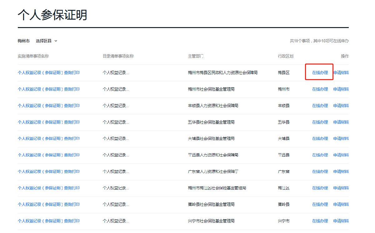
3、点击进入个人参保证明页面,点击相应的地区后面的【在线办理】,即可进入个人参保证明查询和打印入口,按照步骤进行下载打印即可。

除此之外,个人参保证明查询也可通过【“粤省事”微信小程序】进行:
1、进入“粤省事”后请先实名验证登陆,然后点击主页中的【社保】一项

2、选择【社保凭证】——【社会保险参保证明查询】/【个人权益单】即可查看个人参保信息详情


(点击图片查看大图)





