
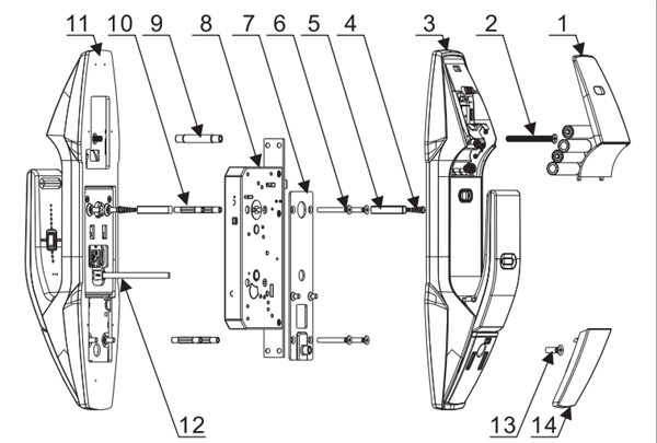
凯迪仕K8指纹锁的结构设计非常新奇,很有科技感。这也导致了一些想要自己安装指纹锁的朋友感觉无从下手,但如果现在给您一份安装说明书呢?
凯迪仕K8指纹锁安装说明书






小编提示:
这是一份比较详细的安装说明书,但如果您看着这份说明书还是不知道怎么安装的话小编建议您找专门的安装师傅来帮您,不然因此损坏指纹锁部件反而损失更多。
[凯迪仕K8指纹锁使用说明书]
数码科技2022-04-21 09:28:06佚名

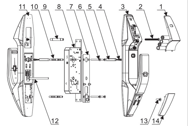
凯迪仕K8指纹锁的结构设计非常新奇,很有科技感。这也导致了一些想要自己安装指纹锁的朋友感觉无从下手,但如果现在给您一份安装说明书呢?






这是一份比较详细的安装说明书,但如果您看着这份说明书还是不知道怎么安装的话小编建议您找专门的安装师傅来帮您,不然因此损坏指纹锁部件反而损失更多。
[凯迪仕K8指纹锁使用说明书]
oppok1怎么关闭亮度自动调节
oppok1怎么下载应用