
上海车管所主办业务:机动车登记、变更、转移(二手车过户、转籍)、报废、驾驶证申领、换证、补证、非机动车上牌等相关业务。
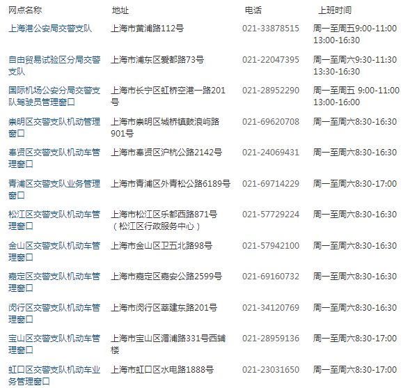
上海车管所上班时间、电话及地址一览表


注:以上为上海车管所的内容信息,可能会有变更,如有不符,请及时的联系当地就近车管所确认!
汽车百科2023-03-01 00:03:55佚名

上海车管所主办业务:机动车登记、变更、转移(二手车过户、转籍)、报废、驾驶证申领、换证、补证、非机动车上牌等相关业务。
上海车管所上班时间、电话及地址一览表


注:以上为上海车管所的内容信息,可能会有变更,如有不符,请及时的联系当地就近车管所确认!
冬季来临7大部件别忘保养(老物件保养)
北京车管所上班时间、电话及地址汇总