12月12日宁波多地在相关区域开展核酸检测
12月11日晚上至12月12日上午,奉化、余姚、宁海发布相关通告,将在相关区域组织开展核酸检测。
奉化区
溪口镇、大堰镇部分居民:
为坚决阻断新冠肺炎疫情传播途径,有效遏制疫情扩散和蔓延,经奉化区新型冠状病毒感染的肺炎疫情防控工作领导小组研究,决定在溪口镇、大堰镇部分村组织开展核酸检测,现将有关事项通告如下:
一、现场采样时间
2021年12月12日8时30分至12时。
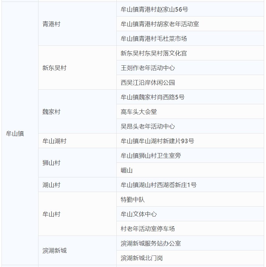
二、采样检测对象范围及采样地点
三、注意事项
请各位居民根据所在村工作人员的通知,携带个人身份证(无身份证的提供户口本等其他有效身份证明)、智能手机,分时段分批次有序到达指定地点开展核酸检测,保持1米以上间距。检测时请提前准备并主动出示健康码、行程码,全程佩戴口罩,不交谈,不聚集。
为了您和全区人民群众的健康安全,请各位居民朋友支持配合大规模核酸检测工作。无正当理由拒不配合、妨碍疫情防控或造成其他严重后果的,需依法承担相应的法律责任。
余姚市
各相关乡镇(街道)居民:
为坚决阻断新冠肺炎疫情传播途径,有效遏制疫情扩散和蔓延,经余姚市新型冠状病毒肺炎疫情联防联控工作领导小组研究,决定在相关乡镇(街道)组织开展核酸检测,现将有关事项通告如下:
一、现场采样时间
2021年12月12日10时开始。
二、采样检测对象范围及采样地点
三、注意事项
请各位居民根据所在村(社区)工作人员的通知,携带个人身份证(无身份证的提供户口本等其他有效身份证明)、智能手机,分时段分批次有序到达指定地点开展核酸检测,保持1米间距。检测时请主动出示健康码、行程码,全程佩戴口罩,不交谈,不聚集。
为了您和全市人民群众的健康安全,请各位居民朋友支持配合大规模核酸检测工作,无正当理由拒不配合、妨碍疫情防控或造成其他严重后果的,需依法承担相应的法律责任。
宁海县
深甽镇龙宫村、马岙村、大洋村居民:为坚决阻断新冠肺炎疫情传播途径,有效遏制疫情扩散和蔓延,经宁海县新型冠状病毒肺炎疫情防控工作领导小组研究,决定在深甽镇龙宫村、马岙村、大洋村组织开展核酸检测,现将有关事项通告如下:
一、现场采样时间
2021年12月12日上午9时30分开始。
二、采样检测对象范围及采样地点
三、注意事项
请各位居民根据所在村工作人员的通知,携带个人身份证(无身份证的提供户口本等其他有效身份证明)、智能手机,分时段分批次有序到达指定地点开展核酸检测,保持1米以上间距。检测时请提前准备并主动出示健康码、行程码,全程佩戴口罩,不交谈,不聚集。
为了您和全县人民群众的健康安全,请各位居民朋友支持配合大规模核酸检测工作。无正当理由拒不配合、妨碍疫情防控或造成其他严重后果的,需依法承担相应的法律责任。





