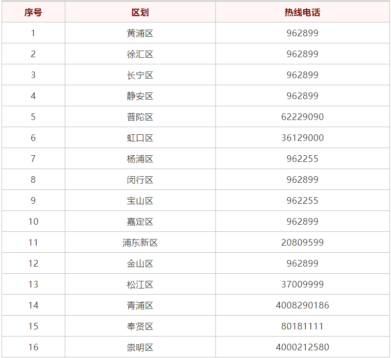
疫情期间,为更好地帮助服务高龄、独居、患病等面临困难的老年群体,市民政局公布各区养老服务24小时热线电话。
老年市民如果遇到缺少生活物资、需要求医配药等问题,既可直接联系各街镇,也可拨打各区的养老服务热线,热线将尽力协助解决您的难题。
各区养老服务24小时热线
社会热点2022-05-18 14:10:25未知
疫情期间,为更好地帮助服务高龄、独居、患病等面临困难的老年群体,市民政局公布各区养老服务24小时热线电话。
老年市民如果遇到缺少生活物资、需要求医配药等问题,既可直接联系各街镇,也可拨打各区的养老服务热线,热线将尽力协助解决您的难题。
各区养老服务24小时热线