一、考研电话
2022年全国硕士研究生招生考试将于12月25日至27日举行。为严厉打击涉考违法违规行为,严肃考风考纪,维护考生合法权益,近期教育部正会同公安、网信、工信、市场监管等相关部门联合开展考试环境综合治理专项行动,对涉考违法违规活动,发现一起、查处一起,绝不姑息,坚决维护研招考试公平公正。
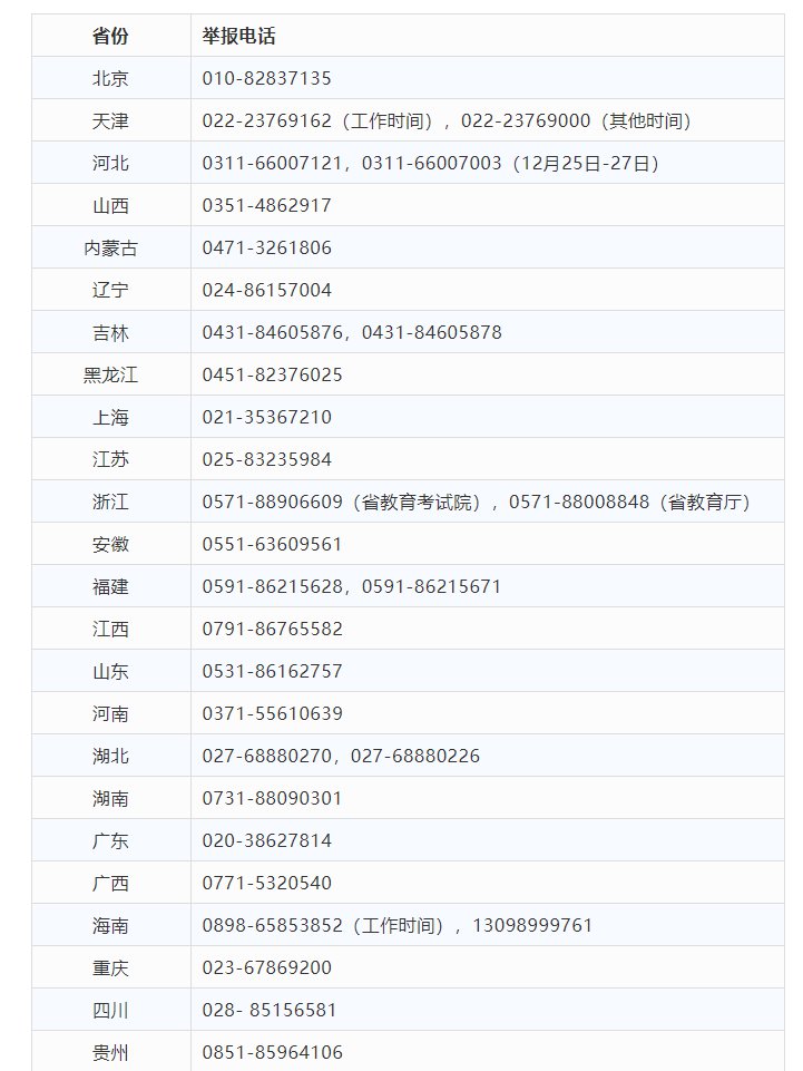
现公布2022年全国硕士研究生招生考试违规违法行为举报电话,欢迎社会各界和广大考生积极参与监督。
2022年全国硕士研究生招生考试违规违法行为举报电话
(2021年12月21日-12月28日)


二、考研防疫
2022年全国硕士研究生招生考试(初试)定于2021年12月25日至27日举行。江苏省教育考试院已于12月3日发布《江苏省2022年全国硕士研究生招生考试健康应试须知》,12月17日发布《关于进一步做好我省2022年全国硕士研究生招生考试防疫工作的公告》。为确保广大考生的生命安全和身体健康,现就防疫要求再次提醒如下,请考生务必认真阅读,参照执行。
考前:健康申报每日要,特殊情况早汇报
1.考生须在12月11日前申领“苏康码”,每日自行测量体温和监测健康状况,并连续14天通过“苏康码”界面进行健康申报。
2. 所有考生须提前了解并确保自己符合考试所在地防疫政策和要求。尽量保持在江苏省境内,尽量减少不必要的跨市流动,避免去中高风险地区和人流密集的公共场所。
3.有下列情形之一的,均须提供考前48小时内(12月23日及以后)核酸检测阴性证明,方可参加考试: “通信大数据行程卡”显示考生考前14天内有报考点所在设区市以外活动记录的;考生在考前14天内有中高风险地区旅居史、境外返回、境外人员接触史,苏康码为非绿码的,以及出现发热(体温超过37.3℃)、咳嗽等呼吸道症状,确需参加考试的。
4.考生须按要求签署《江苏省2022年全国硕士研究生招生考试健康应试承诺书》(可从省教育考试院官网www.jseea.cn下载打印),并在进入考点时出示,进入第一场考试考场后交给监考员。
【拓展】





