清远2022年4月自学考试报名条件是什么?
凡在我省居住和工作的中华人民共和国公民,不受性别、年龄、民族、种族和已受教育程度的限制,均可参加我省自学考试。港澳和台湾同胞、海外侨胞及外籍人士,也可按规定参加我省自学考试。
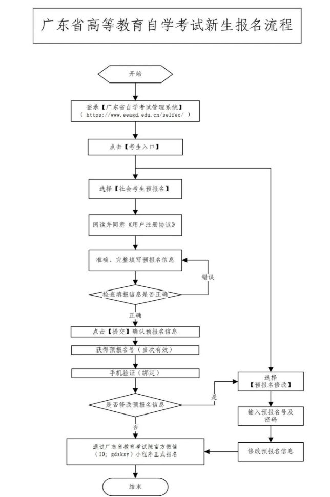
首次参加自学考试的新考生须先办理新生报名手续,然后才可选择课程报考。已进行过新生报名,取得准考证号且个人信息完整的考生可直接报考。

对于个人信息资料不完整,如身份证号和姓名为空、缺相片等情况的考生,将不能报考,请考生提前联系市招考办,按要求及时完善个人相关信息,以免影响报考。已持有我省准考证号但未采集过相片的老考生,请按照电子照片采集标准携带蓝色底电子版证件照、本人身份证到我办现场办理。





